无锡市尚德干燥设备有限公司

CH系列槽型混合机

厂家直销、品质钢材、品类齐全、支持定制、快速供货

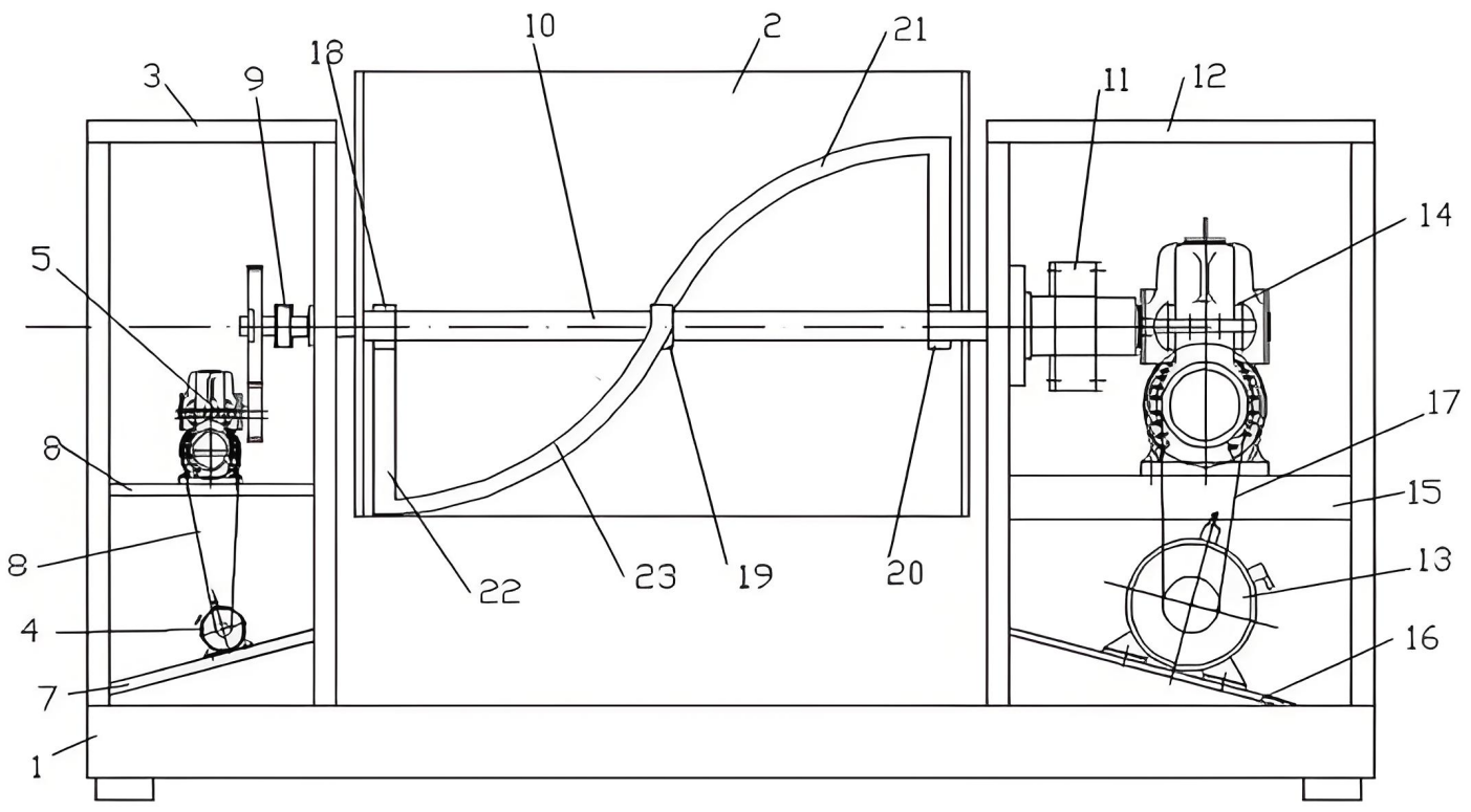
用于混合粉状或湿性物料,使不同比例主辅料混合均匀。本机与物料接触处均采用不锈钢制造,浆叶与桶身间隙小,混合无死角,搅拌轴两端设有密封装置,能防止物料外泻,料斗采用按钮点动控制,出料方便。广泛适用于制药、化工、食品等行业。

咨询热线:

刘总 13961737591
  • 欢迎来厂参观考察
  • 一对一专员全程服务
  • 定制专属行业方案
CH系列槽型混合机
  • 60S

    60秒人工快速响应

  • 30M

    30分钟给予技术答复

  • 24H

    24小时免费定制方案

产品介绍

用于混合粉状或湿性物料,使不同比例主辅料混合均匀。本机与物料接触处均采用不锈钢制造,浆叶与桶身间隙小,混合无死角,搅拌轴两端设有密封装置,能防止物料外泻,料斗采用按钮点动控制,出料方便。广泛适用于制药、化工、食品等行业。

图片集锦

1-25030415032B42.jpg

基本参数

1-250102095J12E.jpg

性能特点

  • 高效混合

    采用先进设计,确保物料混合均匀,无死角。

  • 应用广泛

    适用于多种行业及物料类型,满足多样化需求。

  • 操作简便

    自动化控制,易于操作和维护。


工艺流程图

1-250304150339195.png

1-25030415033cA.png

应用范围

尚德干燥工程竭诚为您服务